ΝΕΑ
VIDEO NEA
PHOTO NEA
|
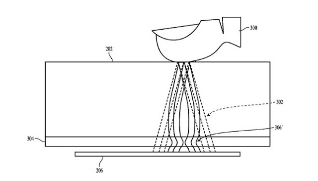
Η Apple θα τοποθετήσει έναν αναγνώστη δακτυλικών αποτυπωμάτων κάτω από την οθόνη του iPhone 8 - Φωτογραφία 3 από 4
2016-10-04 18:41:40
Tweet
< Προηγούμενη Φωτογραφία (2/4)
Επόμενη Φωτογραφία (4/4) >
< Επιστροφή στο Άρθρο: Η Apple θα τοποθετήσει έναν αναγνώστη δακτυλικών αποτυπωμάτων κάτω από την οθόνη του iPhone 8
ΦΩΤΟΓΡΑΦΙΕΣ
ΜΟΙΡΑΣΤΕΙΤΕ
Tweet
ΣΧΟΛΙΑΣΤΕ
ΑΚΟΛΟΥΘΗΣΤΕ ΤΟ NEWSNOWGR.COM
Follow @newsnowgr
Η ΦΩΤΟΓΡΑΦΙΑ ΕΜΦΑΝΙΣΤΗΚΕ ΣΤΟ ΑΡΘΡΟ
Η Apple θα τοποθετήσει έναν αναγνώστη δακτυλικών αποτυπωμάτων κάτω από την οθόνη του iPhone 8
ΠΡΟΗΓΟΥΜΕΝΑ PHOTO ΝΕΑ
Απατεώνες στο διαδίκτυο κλέβουν πιστωτικές από το Apple ID των χρηστών
Είδηση ΣΕΙΣΜΟΣ: Ο ΟΗΕ αποφάσισε - ΕΤΣΙ θα ονομάζονται τελικά τα ΣΚΟΠΙΑ [photos]
ΕΤΣΙ θα ήταν τα ζώα αν είχαν τα μάτια τους… μπροστά σαν τους ανθρώπους... [photos]
Κι όμως σε αυτόν τον δρόμο των Χανίων τα έργα έχουν τελειώσει κοντά 1 μήνα
ΜΙΑ ΡΕΑΛ ΑΠΟ ΑΛΛΟ ΠΛΑΝΗΤΗ... 142-137 ΤΟΥΣ ΘΑΝΤΕΡ! (PHOTOS & 9λεπτο ΒΙΝΤΕΟ HIGHLIGHTS)